1. 测试仪器
采用数显式粘接强度检测仪 (图1-1) 。
仪器最大拉拔力: 10t, 显示数据单位kPa, 可显示拉拔力峰值。
顶部拉拔板 (图1-2) 尺寸: 100×100×9mm。

图1-1 图1-2
2. 判断标准
GB/T 28627-2012 《抹灰石膏》拉伸粘结强度不应小于0.3MPa
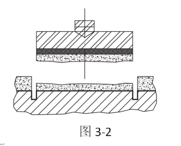
3. 检测方法及有效性判定
根据JGJ/T220-2010 《抹灰砂浆技术规程》 附录A给定的抹灰砂浆现场拉伸粘结强度试验方法执行。 具体如下:
1) 当破坏发生在抹灰砂浆与基层连接界面时,检测结果可认定为有效,见图3-1。
2) 当破坏发生在抹灰砂浆层内时,检测结果可认定为有效,见图3-2。
3) 当破坏发生在基层内,检测数据大于或等于粘结强度规定值时,检测结果可认定为有效;试验数据小于粘结强度规定值时,检测结果应认定为无效,见图3-3。
4) 当破坏发生在粘结层,检测数据大于或等于粘结强度规定值时,检测结果可认定为有效;检测数据小于粘结强度规定值时,检测结果应认定为无效,见图3-4。
凯发·K8(国际)-首页登录 是一家专业从事工业固体废弃物资源化综合利用和石膏基建材料研发、生产、销售和施工为一体的高科技企业,河南省脱硫石膏深加工企业、全国石膏行业优秀企业、石膏协会副理事长单位、18项核心技术专利、三项行业标准修订主编单位、万科A级供应商。
所生产的轻质抹灰石膏ph值接近中性,对人体无害。且生产过程中所有添加剂均为环保物质,不会释放甲醛等挥发性有机物。
凯发K8石膏基自流平是一种新型环保建筑材料,主要用于不平基底,形成一个合适的、平整光滑的、坚固的铺垫基底,以架设各种地板材料,例如地板、PVC、瓷砖等精找平材料。